KIPiA
Калькуляторы
Калькулятор термопар
Калькулятор термосопротивлений
Калькулятор ПМТ
Калькулятор шкала-сигнал
Калькулятор сопротивления проводника
Калькулятор NTC
Калькулятор карбонового греющего кабеля
Калькулятор цветовой маркировки резисторов
КИП
Все приборы
По наименованию
По заводу-изготовителю
По технологическому параметру
Заметки
Документация
Другое
Главная страница
Не указан
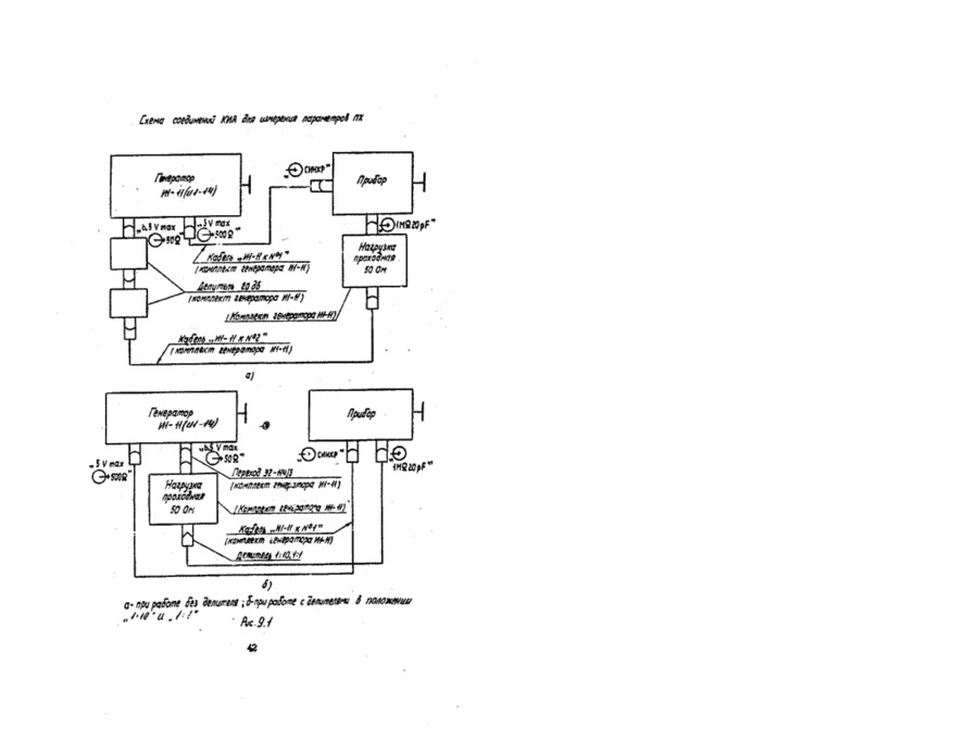
С1-118А
s1118a_kipia_xyz_5215
С1-118А Техническое описание и инструкция по эксплуатации 2.044.131-01 ТО - просмотр
Вернуться к странице файла
Скачать текущую страницу (png)
Страница 41 из 114
Назад
40
41
42
Далее