KIPiA
Калькуляторы
Калькулятор термопар
Калькулятор термосопротивлений
Калькулятор ПМТ
Калькулятор шкала-сигнал
Калькулятор сопротивления проводника
Калькулятор NTC
Калькулятор карбонового греющего кабеля
Калькулятор цветовой маркировки резисторов
КИП
Все приборы
По наименованию
По заводу-изготовителю
По технологическому параметру
Заметки
Документация
Другое
Главная страница
ОАО "Краснодарский ЗИП"
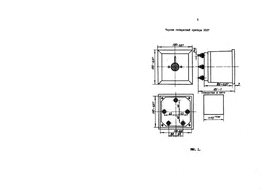
Э327
e327_kipia_xyz
Э327 Техническое описание и инструкция по эксплуатации 0.140.386 ТО - просмотр
Вернуться к странице файла
Скачать текущую страницу (png)
Страница 5 из 11
Назад
4
5
6
Далее