KIPiA
Калькуляторы
Калькулятор термопар
Калькулятор термосопротивлений
Калькулятор ПМТ
Калькулятор шкала-сигнал
Калькулятор сопротивления проводника
Калькулятор NTC
Калькулятор карбонового греющего кабеля
Калькулятор цветовой маркировки резисторов
КИП
Все приборы
По наименованию
По заводу-изготовителю
По технологическому параметру
Заметки
Документация
Другое
Главная страница
Не указан
КСД1, КПД1
ksd1_kpd1_kipia_xyz
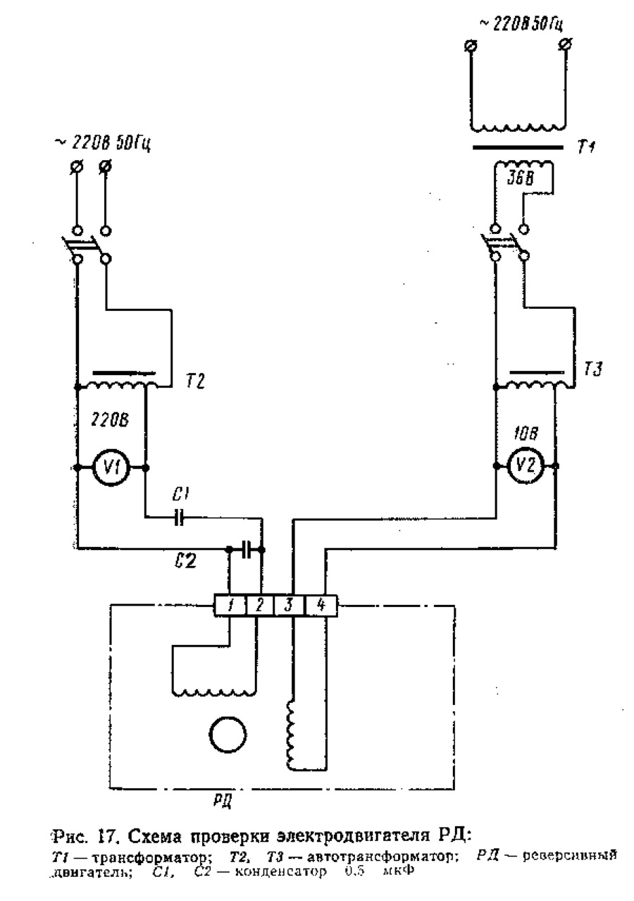
КСД1, КПД1 Техническое описание и инструкция по эксплуатации - просмотр
Вернуться к странице файла
Скачать текущую страницу (png)
Страница 61 из 65
Назад
60
61
62
Далее