KIPiA
Калькуляторы
Калькулятор термопар
Калькулятор термосопротивлений
Калькулятор ПМТ
Калькулятор шкала-сигнал
Калькулятор сопротивления проводника
Калькулятор NTC
Калькулятор карбонового греющего кабеля
Калькулятор цветовой маркировки резисторов
КИП
Все приборы
По наименованию
По заводу-изготовителю
По технологическому параметру
Заметки
Документация
Другое
Главная страница
Не указан
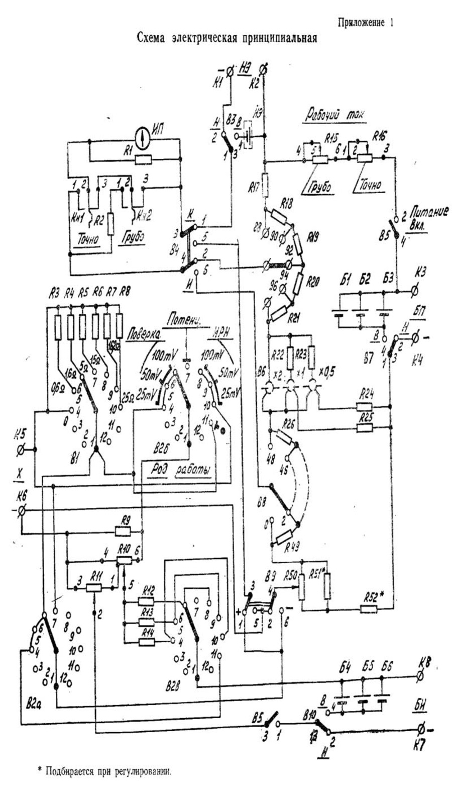
ПП-63
pp_63-kipia_xyz
ПП-63 Паспорт 2.736.010 ПС 1978 год - просмотр
Вернуться к странице файла
Скачать текущую страницу (png)
Страница 14 из 16
Назад
13
14
15
Далее