KIPiA
Калькуляторы
Калькулятор термопар
Калькулятор термосопротивлений
Калькулятор ПМТ
Калькулятор шкала-сигнал
Калькулятор сопротивления проводника
Калькулятор NTC
Калькулятор карбонового греющего кабеля
Калькулятор цветовой маркировки резисторов
КИП
Все приборы
По наименованию
По заводу-изготовителю
По технологическому параметру
Заметки
Документация
Другое
Главная страница
ООО "Производственное объ...
2ТРМ0
rie_2trm1_m_din__953-kipi...
2ТРМ0 Руководство по эксплуатации 2ТРМ1 - просмотр
Вернуться к странице файла
Скачать текущую страницу (png)
Страница 65 из 96
Назад
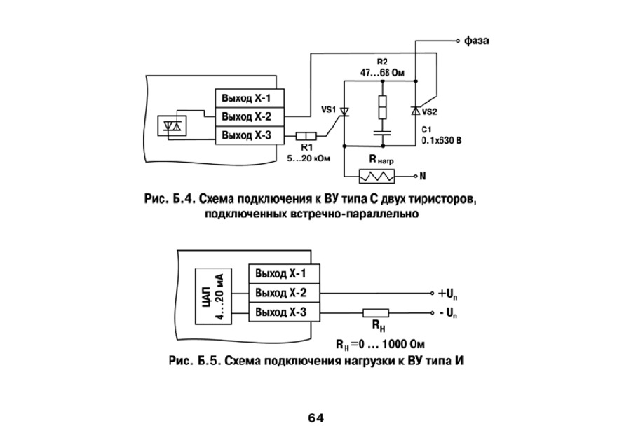
64
65
66
Далее